来源:法院公告、企业征信系统、建筑业要文、筑龙暖通等如有侵权,请联系删除

2025年7月31日,合肥建工集团有限公司(以下简称”合肥建工”)大批员工收到解除劳动合同通知,标志着这家拥有建筑工程施工总承包特级资质的省级国企正式进入破产重整的终局阶段。通知显示,公司将按《劳动合同法》支付经济补偿,但员工普遍担忧:”公司账上早就没钱了,补偿金怕是镜花水月。”


据合肥中院公告,截至2024年11月,合肥建工资产总额为127.3亿元,而负债总额高达162.29亿元,净负债缺口达35亿元,资产负债率飙升至127%。这一数据意味着公司已严重资不抵债,即便变卖所有资产仍难以覆盖巨额债务。3月,法院进一步指定北京大成律师事务所及合肥分所联合担任破产管理人,标志着清算程序全面启动。
正当企业挣扎求生之际,合肥建工原董事长刘国福的落马,彻底揭开了公司内部管理失控的疮疤。3月6日,安徽省纪委监委通报称,刘国福涉嫌“靠企吃企”,利用职务便利在工程承揽、资金使用中谋取私利,并非法收受巨额财物;其违规出借资金、独断专行的决策更导致国有资产遭受“特别重大损失”。

破产根源可追溯至对恒大的过度依赖。作为安徽本土龙头建筑企业,合肥建工70%业务来自恒大项目。2021年恒大暴雷后,其应收账款迅速恶化,仅合肥恒大中心等项目就形成坏账超20亿元。尽管母公司安粮集团(安徽国资委控股)曾尝试输血救助,但2024年2月29日起,合肥建工数千名员工陆续收到待岗通知书,待岗期长达9个月,期间仅按合肥市最低工资标准(约2000元/月)发放待遇。这一决定不仅暴露了企业的流动性枯竭,更折射出建筑行业“断尾求生”的残酷现实。

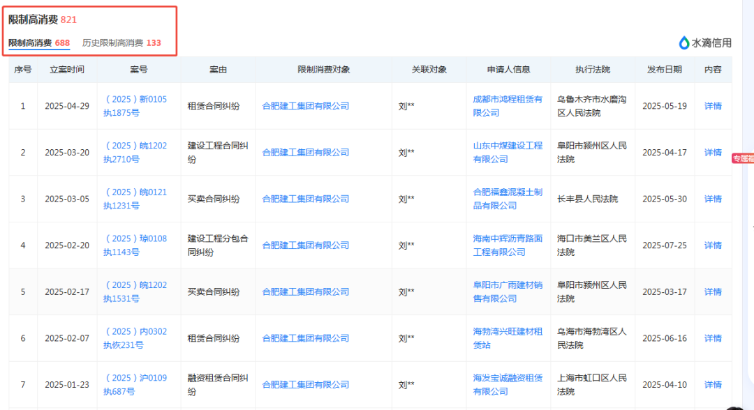
目前管理人正招募战略投资人,但业内人士分析:”特级资质虽具价值,但债务窟窿太大,且房地产行业持续低迷,接盘者恐难寻觅。”员工安置成为最大难题,有项目经理透露:”被欠薪2年多的农民工还有300多人,供应商诉讼堆积如山。”

安徽省国资委人士透露:”对合肥建工这类企业,国资股东已明确‘不兜底’,重点保护农民工工资和民生项目。”这意味着行业出清将更加残酷。
(注:全文数据均来自法院公告、企业征信系统,水滴信用等公开信息等素材,文章部分来源:建筑业要文)







